9e19938f-8f73-4f37-95d4-5070719ba249

MG10-BS5150-RS PN10/PN16 Non-Rising Stem Metal Seat Gate Valve

Technical Specification:
Valve design:BS5150
Face to Face dimension:BS5150

share:
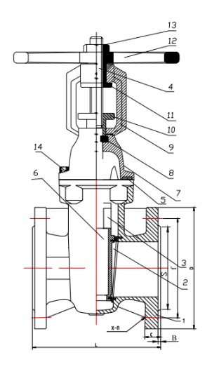
Product Details

 

Item No.Part NameSpecification
1BodyGGG50
2DiscGGG50+Bronze
3Stem NutBrass
4StemSS420
5GasketEPDM
6PinSS420
7BonnetGGG50
8PackingEPDM
9YokeGGG50
10Foundry weightGGG50
11NutGGG50
12HandwheelGGG50
13Locking nutcarbon steel
14Boltscarbon steel
SizeLDfSbCZ-Φd


1.0MPA1.6MPA1.0MPA1.6MPA1.0MPA1.6MPA
1.0MPA1.6MPA1.0MPA1.6MPA
DN50178165125993194-Φ194-Φ19
DN651901851451183194-Φ194-Φ19
DN802032001601323198-Φ198-Φ19
DN1002292201801563198-Φ198-Φ19
DN1252542502101843198-Φ198-Φ19
DN1502672852402113198-Φ238-Φ23
DN2002923402952663208-Φ2312-Φ23
DN25033040535035531932212-Φ2312-Φ28
DN300356460400410370424.512-Φ2312-Φ28
DN350381520460470429426.516-Φ2316-Φ28
DN40040658051552548048942816-Φ2816-Φ31
DN45043264056558553054843020-Φ2820-Φ31
DN500457715620650582609431.520-Φ2820-Φ34
DN60050884072577068272053620-Φ3120-Φ37


Send Message
Related Products
MG09-BS5150-NRS PN16 Non-Rising Stem Metal Seat Gate Valve
MG09-BS5150-NRS PN16 Non-Rising Stem Metal Seat Gate Valve

Technical Specification:
Valve design:BS5150
Face to Face dimension:BS5150
End flange dimension:EN1092-2
Inspection&Test:EN12266

MG01-F4-NRS DIN3352 F4 PN10/PN16 Non-Rising Stem Metal Seat Gate Valve
MG01-F4-NRS DIN3352 F4 PN10/PN16 Non-Rising Stem Metal Seat Gate Valve

Technical Specification:

Size: DN40-DN300

Pressure: PN10/16

Design:DIN3352;EN1171; EN1074-1&2

Face to Face: DIN3202 F4;EN558-1 Series 14

Flanges:EN1092-2 PN10/16

Hydraulic test: EN12266;ISO 5208 

Seat Test:11/17.6bar Shell Test:15/24bar

MG02-F5-NRS DIN3352 F5 PN10/PN16 Non-Rising Stem Metal Seat Gate Valve
MG02-F5-NRS DIN3352 F5 PN10/PN16 Non-Rising Stem Metal Seat Gate Valve

Technical Specification:

Size: DN40-DN300
Pressure: PN10/16

Design:DIN3352; EN1171;EN1074-1&2

Face to Face: DIN3202 F5; EN558-1 Series 15

Flanges:EN1092-2 PN10/16

Hydraulic test: EN12266; ISO 5208

Seat Test:11/17.6bar Shell Test:15/24bar

MG03-F4/F5-NRS DIN3352 F4/F5 DN350-DN1200 Non-Rising Stem Metal Seat Gate Valve
MG03-F4/F5-NRS DIN3352 F4/F5 DN350-DN1200 Non-Rising Stem Metal Seat Gate Valve

Technical Specification:

Size: DN350-DN1200

Pressure: DN350-DN1200

Design:DIN3352;EN1171; EN1074-1&2

Face to Face: DIN3202 F4; EN558-1 Series 14

Flanges:EN1092-2 PN10/16

Hydraulic test: EN12266; ISO 5208

Seat Test:11/17.6bar Shell Test:15/24bar

MG04-F4-RS DIN3352 F4 PN10/PN16 Rising Stem Metal Seat Gate Valve
MG04-F4-RS DIN3352 F4 PN10/PN16 Rising Stem Metal Seat Gate Valve

Technical Specification:

Size: DN40-DN300

Pressure: PN10/16

Design:DIN3352

Face to Face: DIN3202 F4; EN558-1 Series 14

Flanges:EN1092-2 PN10/16

Hydraulic test: EN12266;ISO 5208

Seat Test:11/17.6bar Shell Test:15/24bar

MG05-BS5163- NRS BS5163 PN10/PN16 Non-Rising Stem Metal Seat Gate Valve
MG05-BS5163- NRS BS5163 PN10/PN16 Non-Rising Stem Metal Seat Gate Valve

Technical Specification:

Size: DN50-DN600

Pressure: PN10/16

Design:BS5163

Face to Face: BS5163

Flanges:EN1092-2 PN10/16

Hydraulic test: ISO 5208

Seat Test:17.6bar Shell Test:24bar

MG06-BS5163-RS  BS5163 PN10/PN16 Rising Stem Metal Seat Gate Valve
MG06-BS5163-RS BS5163 PN10/PN16 Rising Stem Metal Seat Gate Valve

Technical Specification:

Size: DN50-DN600

Pressure: PN10/16

Design:BS5163

Face to Face: BS5163

Flanges:EN1092-2 PN10/16

Hydraulic test: ISO 5208

Seat Test:17.6bar Shell Test:24ba

MG07-BS3464-NRS BS3464 PN10/PN16 Non-Rising Stem Metal Seat Gate Valve
MG07-BS3464-NRS BS3464 PN10/PN16 Non-Rising Stem Metal Seat Gate Valve

Technical Specification: 


Size: DN50-DN300

Pressure: PN10/16

Design:BS3464 

Face to Face: BS3464 

Flanges:BS4504 PN10/16; 

BS10 Table D 

Hydraulic test: ISO 5208 

Seat Test:11/17.6bar 

Shell Test:15/24bar

MG08-BS3464-RS BS3464 PN10/PN16 Rising Stem Metal Seat Gate Valve
MG08-BS3464-RS BS3464 PN10/PN16 Rising Stem Metal Seat Gate Valve

Technical Specification:

Size: DN40-DN300

Pressure: PN10/16

Design:BS3464

Face to Face: BS3464

Flanges:BS4504 PN10/16;

BS10 Table D

Hydraulic test: ISO 5208

Seat Test:11/17.6bar

Shell Test:15/24bar